Dans la plupart des systèmes d’alarme, au moins une partie du système tourne sur piles. Je ne suis pas un expert sur le sujet. Les piles sont des objets quotidiens, le sujet nous parait donc simple, au premier abord, mais quand on rentre dans le détail, c’est vite compliqué! Pour plus d’explications, je vous renvoie vers le bouquin de référence « Handbook of Batteries », uniquement en anglais. J’ai accès à la 3ème édition que je vais citer ici : ISBN 9780071359788, mais il y a la 5ème, plus récente ISBN 9781260115925. On fait la différence entre les piles non rechargeables (en anglais « primary cells ») et les batteries (« rechargeable battery » ou « secondary cells » dans la langue de Shakespeare).
Dans un premier temps, on va parler mécanique, auto-décharge, passivation, qualité et topologie. Plus tard, dans un second article, on abordera d’autres sujets comme différentes technologies de piles, les associations de piles, les packs piles propriétaire et leurs copies, et le lien de tout ça avec le système d’alarme.
Vous avez compris, le sujet est vaste et le programme est chargé. J’ai quand-même essayé de mettre quelques images 🙂
Pour réaliser cet article, j’ai piqué de la documentation à différents fabriquant, ce n’est pas pour ça que je conseille un fabriquant plutôt qu’un autre. Je n’ai pas de données objectives pour les comparer : pour les comparer, il faut une étuve ( pour tester en fonction de la température), un banc de décharge de piles pour simuler un profil d’utilisation dans le temps ainsi qu’un budget piles pour tester une centaine de piles par marques pour commencer à avoir une statistique. Ces tests sont coûteux et difficilement réalisable par un particulier. Les entreprises qui font ce type de test ne publient pas leurs résultats.
Cet article fait partie d’une série, et la suite est disponible ici.
Les piles : un petit message de sécurité
Les piles sont un dispositif de stockage d’énergie sous forme chimique. Certains éléments présent dans les piles peuvent s’enflammer: ne les mettez pas de piles en court-circuit, ne cherchez pas à les percer, ne les jetez pas dans le feu, et ne soudez pas directement dessus. Ces dangers sont encore plus importtant sur les piles au lithium. Vous avez des risques de brûlure, de brûlure chimique, de projection, d’électrisation, …
Rappel physique
Une pile est un dispositif de stockage d’énergie sous forme chimique et de restitution d’énergie sous forme électrique.
Quand le circuit électrique aux bornes de la pile est fermé, on a une réaction chimique à l’anode (la borne -) qui libère des électrons et une autre réaction chimique à la cathode (la borne +) qui capte ces électrons.
Exemple de la pile Daniell étudiée en terminale.
La mécanique des piles
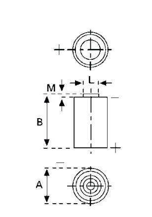
Les tailles de piles normalisées
Il faut savoir qu’il y a deux types d’appellation des types : la dénomination américaine (ANSI), et la dénomination « internationale » (CEI). Il s’agit de noms différents pour les mêmes tailles : quand on aime faire compliqué…. Pour les détails, je vous renvoi vers wikipedia. Faites-bien attention quand vous remplacez une pile bouton : vérifiez le marquage. En effet, on a vite fait de remplacer une CR2450 (24.5 mm de diamètre, 5 mm de hauteur) par une CR2430 (24.5 mm de diamètre, 3 mm de hauteur). La tension étant la même, le produit démarrera probablement, mais vous risquez d’avoir des surprises, tant en termes de perte de contact de la pile sur le produit (hauteur plus faible) que de plus faible autonomie, et de courant maximum délivrable plus faible.
Ci-dessous quelques types de piles :

Il faut savoir que certains fabriquants proposent des piles sur mesure (de forme particulière, non normalisées). Je n’ai jamais vu de ce type de piles dans des produits d’alarme. On trouve également des format « dérivés » de taille standard (2/3 AA, 1/3AA…).
Les tolérances sur les tailles de piles
Il faut savoir que les piles peuvent avoir des tailles qui varient en fonction des marques, usines et procédés au sein des tolérances établies par la norme CEI, d’où des contacts à ressort, qui permettent de prendre en compte ces variations.
Par exemple, Varta, pour une pile AA 6117 101 301 ( LiMnO2) indique une hauteur qui peut varier d’1 mm (soit 2% de variation)! (source varta)
![]() | ![]() |
Différents types de terminaisons
Il existe d’autres types de terminaisons (connecteurs, pattes pour intégration sur PCB, …) exemple ci-dessous pour la marque Saft.

Le premier et le dernier type de terminaison sont utilisés pour souder directement la pile sur un PCB. Il ne sera pas possible de remplacer la pile sans fer à souder. Ces types de piles peuvent être utilisées pour de produits de type détecteur de fumée, où le constructeur ne veut pas que le produit puisse être réutilisé après la fin de vie des piles. Personnellement, je préfère les piles remplaçables.
Les points d’attention concernant une pile
Liste non exhaustive et non triée :
- les dimensions physiques qui peuvent influer sur la taille du produits
- les terminaisons (est ce que l’utilisateur peut changer lui-même la pile?)
- la tension de la pile (qui peut risque d’imposer des choix sur l’électronique)
- l’énergie contenue dans la pile (souvent exprimée en mAh)
- le courant max qui peut être délivré
- la gamme de température
- l’auto-décharge (en % par an) et les conditions de stockage
- le phénomène de passivation
- les risques liés à l’utilisation de la pile
- la masse de lithium qui peut imposer des restrictions de transport
- pour les batteries, il faut aussi regarder les effets de cyclage
- certaines piles embarquent des éléments de sécurité (évents en cas de dégazage, fusibles en cas de court-circuit)
- le prix
- la disponibilité
- la qualité
- le recyclage / l’impact environnemental. Je ne vais pas en parler, car je manque d’info et de connaissance sur ce point.
c’est quoi l’auto-décharge?
Toutes les piles présentent une auto-décharge, mais elle varie de manière importante en fonction des technologies de piles ainsi que des conditions de stockage. En gros, même quand elles sont stockées dans de bonnes conditions, les piles perdent une partie de leur énergie : on parle de quelques %/an pour des piles à du 10~20%/mois pour des batteries Ni-Cd. Les industriels mettent en place des FIFO (ils utilisent les piles dans l’ordre de réception), pour ne pas se retrouver avec des piles « périmées ». La température de stockage a un effet important sur l’auto-décharge.
Si on prend les chiffres du « Handbook of Batteries », on a les ordres de grandeur:
| Techno | Auto-décharge (à 20°C) |
| Saline (Leclanché) | 10% / an |
| Alcaline | 4% / an |
| Lithium (Li/MnO2, Li/SOCl2, Li/FeS2) | 1~2 %/an |
c’est quoi les phénomènes de passivation?
Les phénomènes de passivation sont plutôt observés sur les piles lithium « liquide » comme les piles au lithium – chlorure de thionyle (Li/SoCl2 pour les intimes) mais peuvent également être observé sur d’autres type de piles. Pour dé-passiver ces piles, il faut tirer un courant important.
c’est quoi la qualité d’une pile?
Explications générales
La qualité est à comprendre au sens constance des process : un industriel peut préférer un fournisseur de piles contenant en moyenne moins d’énergie mais avec un écart-type plus resserré à un autre fournisseur qui propose des piles contenant en moyenne plus d’énergie mais avec un écart-type plus étendu.
Un petit dessin valant mieux qu’un grand discours : imaginez que vous devez choisir entre deux fabricants de piles:l’un dont la distribution sur la courbe bleue, l’autre la courbe rouge (les unités sont complètement arbitraires, c’est l’idée qui compte).

(courbes dessinées avec l’outil en ligne desmos).
En bien vous allez peut-être privilégier le fabricant bleu au fabricant rouge car dans le cas du fabricant rouge vous risquez d’avoir plus d’appel de client mécontent que pour le fabricant bleu, avec des appels SAV du style : « je comprends pas, j’ai acheté deux détecteurs chez vous en même temps, j’ai changé les pile au bout d’un an sur un détecteur et au bout de deux sur l’autre alors qu’ils sont soumis à la même utilisation ».
C’est encore plus critique s’il y a un installateur qui a un contrat d’entretien, et risque de ne pas être rentable car il doit aller trop fréquemment chez son client. Évidemment, dans le cas de cette problématique, il faut aussi prendre en compte les dispersions des produits et de l’usage des produits. Par exemple, un DO sur un porte principale peut être plus sollicité qu’un DO sur une fenêtre qui n’est jamais ouverte.
Il faut savoir également que les courbes de dispersions sont des données confidentielles des fabricants de piles: les fabricants d’équipement électroniques n’ont pas accès directement aux courbes des fabricants, et font souvent leurs propres essais, selon leurs moyens et leurs cas d’usage.
Quand on a dit ça, on se met à la place du fabricant de pile rouge. Pour améliorer son écart-type sans changer son process industriel, il peut rajouter des tests en fin de chaîne de production pour trier « les meilleures piles » et les autres. Évidement, ces tests coutent de l’argent. Il peut alors garder ces piles triés pour des clients prêt à payer plus cher, et garder les piles « normales » pour le grand public. Il peut aussi y avoir aussi des différences de process, tout ça relevant des secrets de fabrications.
Un cas concret
On va prendre un cas pratique : la marque Energizer (on aurait pu prendre un autre fabricant), on a 4 gammes de piles alcalines: Energizer Power, Energizer Max, Energizer Max + et Energizer industrial. On va comparer les piles AA.
On peut retrouver les datasheets ici.
| Gamme | Prix | Poids | Capacité indiquée (décharge à 25 mA) | Capacité indiquée (décharge à 500 mA) |
| Energizer Power | 15.90€/24 piles 0.66€/pile | 23.0g | — | — |
| Energizer Industrial | 12.40€/10 piles 1.24€/pile | 23.0g | 2775 | 1350 |
| Energizer Max | 13.90€/20 piles 0.70€/pile | 23.0g | 2840 | 1580 |
| Energizer Max + | 22€/20 piles 1.16€/pile | 24.0g | 3130 | 1650 |
Les prix ont été constatés chez Castorama pour la gamme Energizer power et chez Leroy Merlin pour les autres, le 02/02/25 et chez le même jour. Les 4 types de piles sont annoncé avec une tension à vide de 1.5V. Normal, c’est la même technologie. On constate que la Energizer Max est plus lourde (j’aimerai bien savoir pourquoi). Les tests sont indiqué à 21°C pour un courant d’arrêt de test à 0.8V. Ce qui veut dire qu’on considère la pile vide quand la tension à vide atteint 0,8V. La datasheet n’indique aucune donnée statistique, on a uniquement la moyenne.
Si on regarde uniquement les données d’Energizer, on peut se demander pourquoi la pile « Industrial » est plus chère que la « Max + ». La réponse est peut-être dans la dispersion : la gamme industrial se rapprocherait de la courbe bleue alors que la Max + serait la rouge, ou alors il pourrait ne s’agir que de marketing : on fait payer plus cher les « pros ». Sans informations complémentaires, impossible de savoir.
Les différents topologies de piles (spiralées vs bobinées)
Pour certaines technologies (notamment Li/SOCl2), mais pas uniquement, on a deux topologies disponibles : spiralées et bobinées.

Les deux topologies ne sont pas toujours disponibles sur l’ensemble des formats de piles. Par exemple : chez Saft, en format AA, on ne trouve que des piles bobinées.
Si on compare dans le catalogue de Saft, on a :

Les piles bobinées emmagasinent plus d’énergie, mais sont capables de délivrer un courant (pic et continu) plus faible. La pile LS33600 présente une auto-décharge de 1%/an quand une LSH20 présente une auto décharge de 3%/an (source: datasheet saft).
Recap’
D’abord, on a revu le fonctionnement physique d’une pile, on a regardé les différentes tailles normalisées et les terminaisons possibles. Puis, on a listé les points d’attention pour le choix d’une pile. Enfin, on a parlé auto-décharge, qualité et topologie (piles bobinées vs piles spiralées).
Dans un prochain article, on rentrera dans le détails des différentes technologies de piles. Ensuite, on abordera d’autres sujets comme le couplage (série/parallèle), les packs propriétaires et leurs copies. Pour finir, on fera le lien de tout ça avec le système d’alarme.


